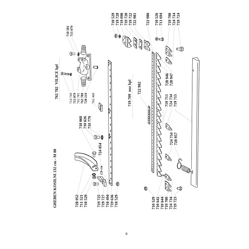
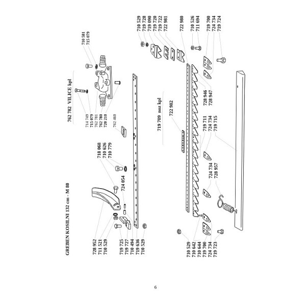
Kosilni greben je primeren za uporabo pri motokultivatorjih in kosilnicah Muta novejše proizvodnje.
Velikost kosilnega grebena (132cm) predstavlja odličen kompromis med širino reza in okretnostjo priključka.
Zaradi tega sem večina uporabnikov odloča za to velikost.
Za delo s kosilnim grebenom Struc Muta potrebujemo mehanizem grebena, ki prenaša moč iz motokultivatorja do kose.
Življenska doba grebena je močno odvisna od vzdrževanja. Najpomembnejše je preverjanje in nastavljanje zračnosti v pogonu kose.
Pri delu nastajajo vibracije zaradi česar je potrebno redno preverjanje vijakov.
Pri delu najprej pride do obrabe kose.
Kasneje se menjajo tudi prsti, posebej v primeru, da površina reza ni več ravna.






Naložbo izdelave spletne strani www.frambo.si in e-trgovine www.agro24.si so sofinancirale Republika Slovenija in Evropska Unija iz Evropskega sklada za regionalni razvoj. Projekt je sofinanciran na podlagi javnega poziva«Vavčer za digitalni marketing«. Spletna stran evropske kohezijske politike v Sloveniji: http://www.eu-skladi.si/.